第二代復合式排氣閥 | CARX
第二代復合式排氣閥 產品說明
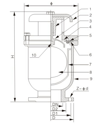
CARX第二代復合式排氣閥它必須設有二孔一大一小,大孔與通徑孔基本相等,管道首次通水有大量氣體往外排,這些氣體是從大孔排出。當氣體排完后,大孔停止排氣,管道在正常動轉時,管內自然會產生氣囊體,這些氣體會慢慢形成變大,會集中到管道上部,對管道出水量有一定的影響,這些氣體由小孔解決排除,使管內無氣體存在,如出現停電、停泵、管內水流空時隨時會出現負壓。管內需要大量空氣,浮球順水下降,打開小孔帶動大孔進行大量進氣確保管道安全。注:排氣閥在使用過程中壓力不能低于0.02MPa,如低于0.02MPa排氣閥容易漏水,改閥必須配一只閥門作為檢修用。
第二代復合式排氣閥 主要技術參數
| 公稱壓力 | 1.0~1.6MPa? |
|---|---|
| 公稱通徑 | 25-200mm |
| 適用介質 | 清水 |
| 適用溫度 | 0~80℃? |
| 試驗標準 | GB/T 13927 API598? |
| 閥體材質 | 鑄鐵、鑄鋼、304不銹鋼等 |
第二代復合式排氣閥 材質
| 序號 | 名稱 | 材質 |
|---|---|---|
| 1 | 閥 體 | HT200 |
| 2 | 閥 蓋 | HT200 |
| 3 | 浮 球 | SUS 304 |
| 4 | 杠桿架 | 鑄銅ZH59 |
| 5 | 桿 | 鑄銅ZH59 |
| 6 | 塞 頭 | 丁睛橡膠NBR |
第二代復合式排氣閥 安裝示意圖
第二代復合式排氣閥 結構尺寸圖
第二代復合式排氣閥 連接尺寸
| 公稱通徑 DN(mm) | D | D1 | D2 | 0 | H | Z-Od |
|---|---|---|---|---|---|---|
| 25 | 115 | 85 | 68 | 195 | 320 | 4-14 |
| 50 | 160 | 125 | 100 | 195 | 320 | 4-18 |
| 80 | 195 | 160 | 135 | 242 | 375 | 4-18 |
| 100 | 215 | 180 | 155 | 260 | 395 | 8-18 |
| 150 | 280 | 240 | 210 | 340 | 500 | 8-23 |
| 200 | 335 | 295 | 265 | 405 | 600 | 8-23 |
| 250 | 390 | 350 | 320 | 465 | 680 | 12-23 |
| 300 | 440 | 400 | 368 | 505 | 780 | 12-23 |
| 350 | 500 | 460 | 428 | 605 | 860 | 16-23 |
| 400 | 565 | 515 | 482 | 660 | 940 | 16-25 |
第二代復合式排氣閥圖片
